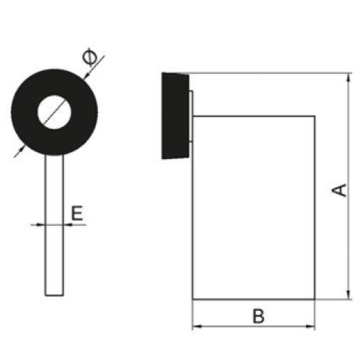
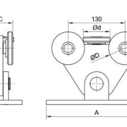
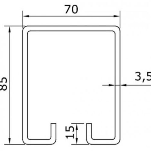
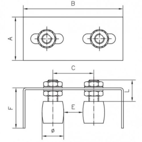
Herrajes puertas autoportantes